¡¡
Insulated Terminals:
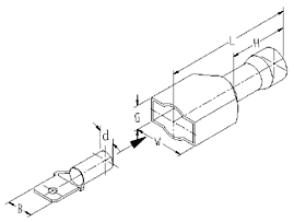
Fully Insulated male Connectors:
|
|
![]() |
¡¡
|
ITEM NO |
DIMENSIONS |
WIRE RANGE |
COLOR | |||||||
|
B |
W |
L |
d |
D |
G |
H |
Telne mm2 |
AWG | ||
|
KMA-MR1 |
6.3 |
9.9 |
23.4 |
1.8 |
4.3 |
6.3 |
10 |
0.75-1.25 |
18-16 |
RED |
|
KMA-MB1 |
6.3 |
10.2 |
23.7 |
2.3 |
4.3 |
5.8 |
10.8 |
1.25-2.0 |
16-14 |
BLUE |
|
KMA-MY1 |
6.3 |
10.6 |
25.5 |
3.5 |
6.3 |
7.1 |
12.5 |
2.63-6.64 |
12-10 |
YELLOW |
¡¡
![]() |
||
¡î¡î¡î¡î¡î COPYRIGHT ©
2002-2004 BESTFLOW MOTOR CO.,LTD. ALL
RIGHTS RESERVED. ¡î¡î¡î¡î¡î
January.2002Year